Sellette d'attelage JSK 36, H 150mm,
poignée longue
| Poids des articles | 118kg |
|---|
Brut
/ pce
Veuillez vous connecter pour pouvoir utiliser le panier d'achat et passer vos commandes.
S'inscrireAvantages en un coup d'œil
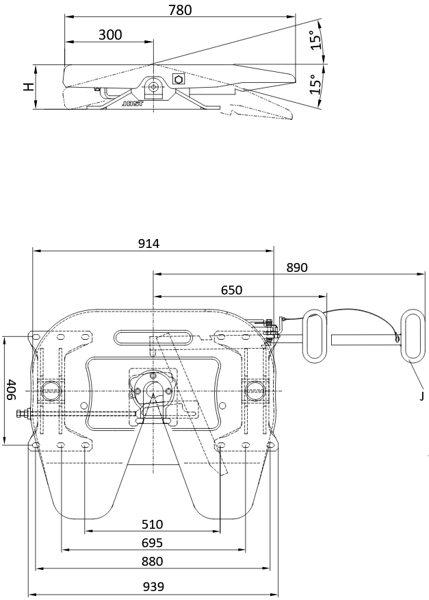
sellette d'attelage 2" dans une construction en tôle estampée au poids optimisé
Came d'entrée pour le positionnement correct du pivot central lors de l'attelage
Possibilité d'ajouter une poignée Fleetmaster
Valeur D 152kN, charge de sellette 20t, hauteur 150mm
Données techniques
Convient pour recevoir des pivots royaux 2" (classe G50) selon ECE R55-01,
DIN 74080, ISO 337 et cale de direction selon ECE R55-01, DIN 74085
| N° d'art | JSK 36 DV 2J |
|---|

